济南市鸿慷机电设备有限公司位于交通便利的泉城济南,是全球生产滚动轴承和直线运动产品的领导企业---德国舍弗勒集团在山东的授权代理商。公司专营舍弗勒集团旗下两大品牌INA轴承和FAG轴承,是一家顺应经济发展需要而诞生的专业化新型高端轴承公司。多年来一直从事轴承的销售和售后技术支持,在机械行业技术方面有着非常丰富的经验,今天济南鸿慷机电进口轴承专家为大家介绍一下直线导轨的额定负荷与寿命。

直线导轨的应用,必须对选用的型号与使用条件来验算其负荷容量及寿命,根据这些结果来判断选择的直线导轨型号是否符合需求。
负荷容量的验算是利用基本额定静负荷(C0),求出静安全系数,即确定其静的负荷限度;而寿命的验算则是利用基本额定动负荷(C),来计算额定寿命。
直线导轨的寿命是指在滚动体或滚动面上由于循环应力的作用,到出现因材料的滚动疲劳所发生的金属表面剥落时所运行的总距离。
1,基本额定静负荷C0
直线导轨在静止或低速运行中承受过大或冲击的负荷时,在滚动体与滚动面之间会产生局部的永久变形,这个永久变形量如果超过某个限度时,就会影响直线导轨运动的顺畅性。
所谓的基本额定静负荷(C0),是指在产生最大应力的接触面处,使滚动体与滚动面间的永久变形量之总和达到滚动体直径的0.0001倍时,方向和大小一定的静止负荷。所以基本额定静负荷即为容许静负荷的限度。
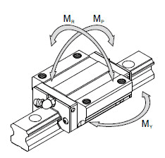
2,容许静力矩 M0

| 使用机械 | 负荷条件 | fs的下限 |
|---|---|---|
| 一般产业机器 | 一般负荷状况 | 1.0 - 1.3 |
| 有振动、冲击时 | 2.0 - 3.0 | |
| 机床 | 一般负荷状况 | 1.0 - 1.5 |
| 有振动、冲击时 | 2.5 - 7.0 |
4,基本额定动负荷 C
即使同一批制造出来的产品,在相同的条件下运动,直线导轨的寿命也会有些许差异。因此,为了确定直线导轨的寿命,一般使用以下定义的额定寿命。所谓的额定寿命(L),是指一批相同规格的直线导轨在同样的条件下运动时,其中的90%不产生表面疲劳剥落的现象所能行走的总运行距离。当直线导轨承受负荷并运动时,为计算其寿命要使用基本额定动负荷。
所谓的基本额定动负荷(C ),是指一批相同规格的直线导轨在同样的条件下运动时,当其滚动体为钢珠时,其额定寿命为50km,而其滚动体为滚柱时,额定寿命为100km,方向和大小都不变的负荷。
5,寿命计算
直线导轨的额定寿命(L)会因实际所承受的负荷而不同,可依照选用规格的基本额定动负荷(C)和工作负荷(P)来推算出使用寿命。直线导轨的使用寿命会随著运动状态、滚动面的硬度与环境温度而变化,依其循环的滚动体类型,选用下式来计算其寿命。
钢珠(球)




| 运转条件 | 使用速度 | fW |
|---|---|---|
| 平滑无冲击 | V 小于等于 15 m/min | 1.0 - 1.2 |
| 普通冲击力及振动 | 15 小于 V 小于等于 60m/min | 1.2 - 1.5 |
| 中等冲击力及振动 | 60 小于 V 小于等于 120m/min | 1.5 - 2.0 |
| 强烈冲击力及振动 | V 大于等于 120m/min | 2.0 - 3.5 |
6,寿命时间的计算Lh
在直线导轨使用的行程长度与往复次数一定时,可用前述公式所求得的额定寿命(L),换算出寿命时间(Lh)。

如果您对山东进口轴承、FAG轴承、INA轴承感兴趣或者有疑问的话,请点击联系我们网页右侧的在线客服,或致电:400-086-9890,山东进口轴承供应商——您全程贴心的采购顾问。
——责任编辑:济南鸿慷机电设备公司01销售顾问
版权所有www.fag66.com(济南鸿慷)转载请注明出处
